MG冰球突破官网
学院首页
部门职责
政策法规
办事流程
下载中心
办事流程
首页
>>
办事流程
>> 正文
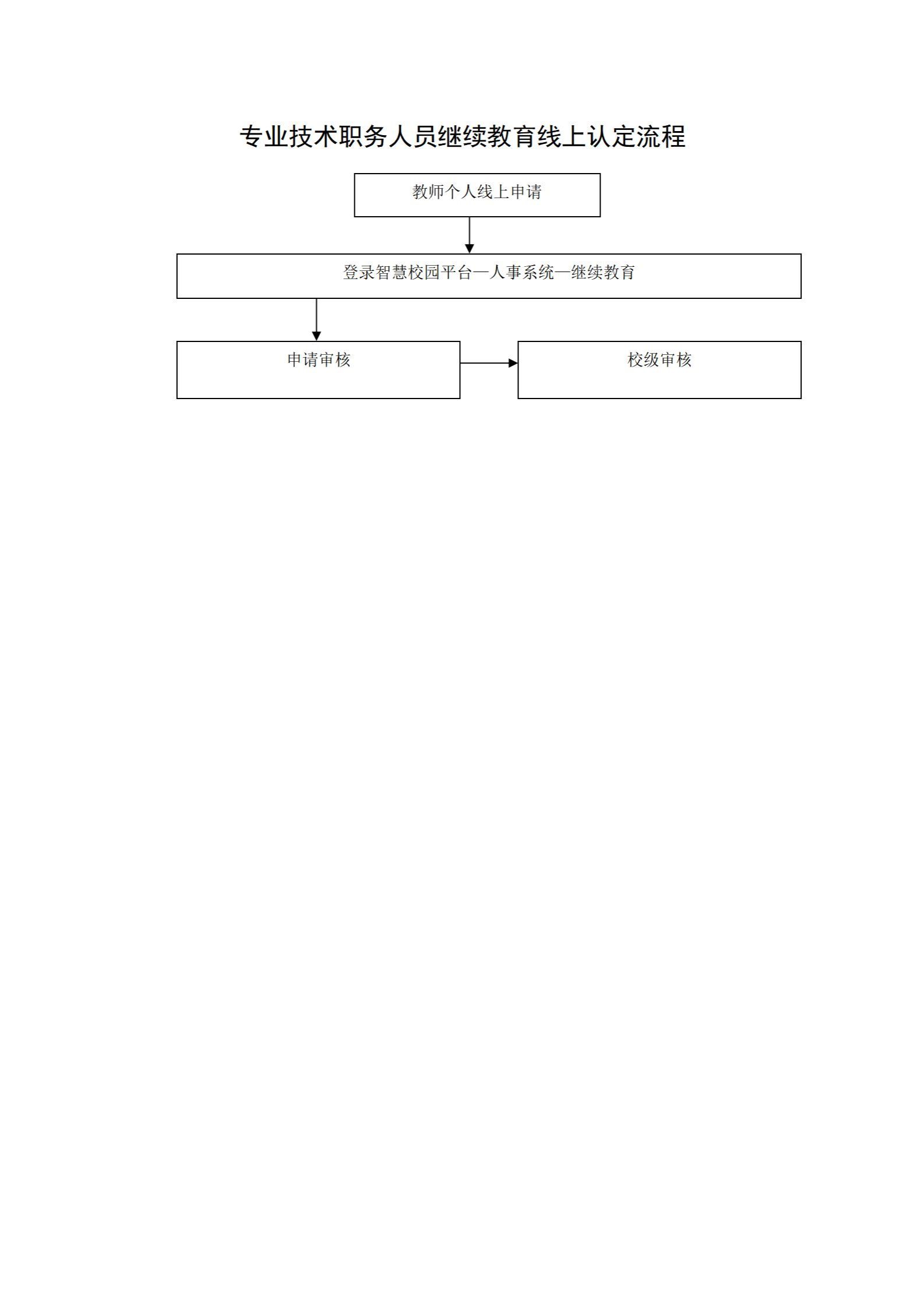
专业技术职务人员继续教育线上认定流程
时间:2024-10-22 浏览次数:次